皇冠信用开户申请 _刚刚,跳水!超20万人爆仓
皇冠信用网代理出租(www.hgty.us)-开会_员出_租平_台)皇冠信用网/—开会员账号—(招登1登2登3(足球平台出租)【导读】加密货币市场集体走低皇冠信用开户申请 ,超20万人被爆仓
中国基金报记者 晨曦
刚刚皇冠信用开户申请 ,加密货币市场再度跳水!
10月14日晚间,比特币再度走低,一度跌破11万美元,跌幅达4.6%皇冠信用开户申请 。

以太坊一度跌破3900美元,跌幅超8%皇冠信用开户申请 。

主流加密货币集体走低,狗狗币、币安币、艾达币等均大幅下跌皇冠信用开户申请 。

展开全文
CoinGlass数据显示,最近24小时,全球共有20.66万人被爆仓,爆仓总金额为6.56亿美元,其中,多单爆仓4.75亿美元,空单爆仓1.82亿美元皇冠信用开户申请 。

美股加密货币概念股普跌皇冠信用开户申请 。

此外,根据德勤近期研究,约25%的比特币可能暴露在量子攻击风险下皇冠信用开户申请 。若这些比特币未能及时转移至抗量子地址,待强大量子运算机投入使用后,可能造成数千亿乃至兆美元的损失。数字资产管理公司Capriole Investment创始人、长期比特币倡导者Charles Edwards指出,量子运算威胁远比普遍认知的更迫近,并敦促社区在2026年前构建防御体系。
北京时间周三凌晨00:20,美联储主席鲍威尔将在全美商业经济协会举办的活动上发表讲话,主题为《经济展望与货币政策》皇冠信用开户申请 。业内认为,鲍威尔的讲话可能左右市场对降息节奏及整体货币政策的预期,从而决定当前加密货币市场的下行趋势是加剧还是企稳。
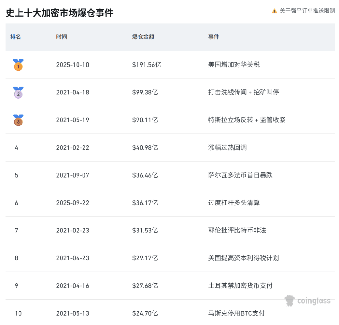
就在上周,美国总统特朗普发布关税威胁,加密货币市场遭遇“大清洗”,主流币种集体大跌皇冠信用开户申请 。CoinGlass数据显示,10月10日爆仓金额超191亿美元,居于历史首位。随后虽有所回升,但当天暴跌的“创伤”仍令投资者心有余悸。

区块链数据公司Santiment指出,上周五的抛售并非单纯受关税消息驱动皇冠信用开户申请 。散户交易者迅速将暴跌归咎于关税对峙,但更深层的结构性问题正在积聚,包括过度杠杆和多头仓位的极端集中。
TD Cowen分析师在近期报告中表示,美国参议员们在推动加密货币市场结构法案通过一事上行动迟缓,这可能导致该法案的通过时间推迟至中期选举之后皇冠信用开户申请 。
过去一年,已有多名民主党人对特朗普总统与数字资产的关联表示担忧,这一情况反过来使立法进程变得更加复杂皇冠信用开户申请 。据计算,特朗普通过其家族的加密货币项目(包括World Liberty Financial去中心化金融稳定币项目,以及“TRUMP”“MELANIA”两款迷因币)已获利约6.2亿美元。
编辑:黄梅
校对:王玥
制作:舰长
审核:陈墨
版权声明
《中国基金报》对本平台所刊载的原创内容享有著作权,未经授权禁止转载,否则将追究法律责任皇冠信用开户申请 。
猜你喜欢
- 2026-03-21皇冠信用盘代理登1 _特朗普:当美国想结束与伊朗冲突时,以色列也会同步
- 2026-03-20皇冠代理登1,2,3 _动用核弹开路,以军彻底疯狂?特朗普刚打完包票,自己人开始浇油
- 2026-03-20皇冠信用盘平台出租 _8:30上班,8点要到岗晨读?四川一公司回应:创始人爱学习,晨读内容大多聚焦于管理和经营方面,律师:应支付加班费,以避免潜在法律风险
- 2026-03-17正版皇冠信用盘代理 _女子火车上突来月经弄脏卧铺床单,列车员要求清洗或赔偿180元,12306客服回应
- 2026-03-16皇冠登一登二登三区别 _美媒:伊朗航母被击沉后,东风17升级版亮剑,美军承认无法被拦截
- 2026-03-14皇冠信用盘怎么注册 _美军基地5架空中加油机被伊朗导弹袭击中
- 2026-03-12沙特阿拉伯 vs 乌拉圭 _突发!穆杰塔巴遇袭,伊朗抓到111人,战场扩散,中俄很难调停?
- 2026-03-08皇冠信用庄家_伊朗第13波导弹雨砸下,100万大军准备打地面战,英法德已选边站
- 2026-03-08皇冠体育App下载_沉默8天后,国台办公开表态,开出两岸对话条件,赖清德突遭当头一棒
- 2026-03-07皇冠信用网出租足球_邵子钦进球后比心庆祝,王霜灵魂拷问:小邵这心比给谁的呀?
- 2026-03-06皇冠信用盘网址_特朗普要求立即赦免以色列总理
- 2026-03-04信用平台出租 _女儿因不写作业挨打大哭,随后嘴唇发紫倒地!家长:很后悔打她


网友评论